Apple’ın yeni patenti iPhone’ları “4 ayak üstüne” düşürüyor

03 Aralık 2014 20:00

Devamlı olarak yeni patentlere imza atan ve patent yarışında geride kalmamak için elinden geleni yapan Apple, yeni patenti ile telefonlarını düşürmekten çekinen kullanıcıların derdine çare olmak istiyor.

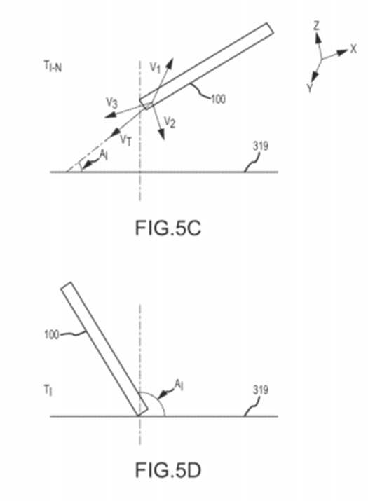
Kedilerden ilham alan patent ile telefonun “dört ayak üstüne düşmesi” sağlanıyor. iPhone‘da mevcut olan sensörleri kullanan sistem, telefonun havada olduğunu algılayabiliyor. Zemine kalan mesafeyi ve düşüş hızını hesaplayabilen sensörler, telefon için en iyi düşme pozisyonunu sağlayarak hasarın en aza indirilmesine olanak tanıyor. Böylece ekran ve kamera gibi önemli bölümlerin büyük zararlar görmesi engelleniyor.

Gerçeğe dönüşme ihtimali şimdilik epey düşük olsa da Apple’ın bu yeni patentinin heyecan verici olduğunu söyleyebiliriz. Belki de önümüzdeki yıllarda tüm telefonlarda benzer teknolojilere yer verilebilir. Böylece telefonu düşürme tedirginliği de tarihe karışabilir.

Paylaş