iPhone 11 Pro patentinde kameralarla ilgili beklenmedik gelişme

10 Temmuz 2020 14:30

iPhone 11 Pro modellerinin ilk taslak tasarımları ortaya çıktığında telefonlar kamera modüllerinin büyük olması sebebiyle eleştirilmişti.

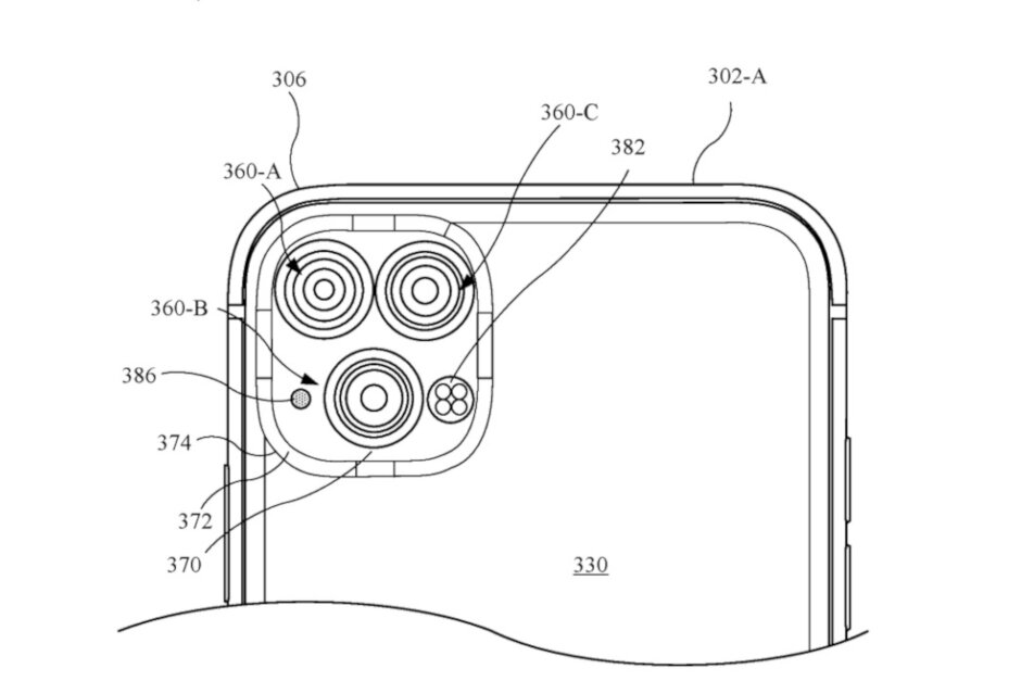
iPhone 11 ailesi piyasaya çıktıktan sonra telefonun kamerasını eleştiren kullanıcılardan bazıları kamera modülünü beğense de bazı kullanıcılar bu kamera modülünü beğenmemişti. Apple Insider, Apple’ın daha önceden iPhone 11 Pro için hazırladığı patent görsellerine ulaştı. Patent görsellerine bakıldığında kamera modülünün daha farklı bir tasarıma sahip olduğu görülüyor. Şirket tarafından USPTO olarak da bilinen Amerika Birleşik Devletleri Patent ve Ticari Marka Ofisi’ne yapılan patent başvuruları, kamera modülü için alternatif tasarımlar ortaya koyuyor.  Bazı çizimlerde Apple tarafından kullanılan aynı kare tasarım görülse de kamera modüllerinin içindeki düzende farklılık mevcut. Final tasarımın paylaşılan tasarımdan çok daha iyi olduğunu gönül rahatlığıyla söyleyebiliriz. Apple’ın Pro modellerinde kullanıma sunduğu bu kamera tasarımını bu yıl piyasaya süreceği iPhone 12 Pro modellerinde de kullanması bekleniyor.

İLGİNİZİ ÇEKEBİLİR

iPhone 11 Pro modellerini unutun iPhone 12 Pro için ger sayım başladı

Şirketin bu yılki Pro modellerine LiDAR sensörü de ekleyeceği konuşuluyor. iPad Pro ile hayatımıza giren LiDAR teknolojisinin de Pro modellerinde yer alacağı söyleniyor. iDAR kamera teknolojisi de Pro modellerinde gelmesi beklenen diğer detaylar arasında. LiDAR, ışığın bir nesneye ulaşma ve o nesneden yansıma süresini ölçerek aradaki mesafenin belirlenmesini sağlıyor. Bu gelişmiş teknoloji, bir sonraki Mars görevi için NASA tarafından da kullanılıyor.

İlginizi Çekebilir

Xiaomi’nin yeni arayüzü MIUI 12 ile tanışın

 

Paylaş