Apple‘ın önümüzdeki yıllardaki cihazlarında kullanmayı planladığı kavisli cam projesi, şirketin Patent ve Marka Ofisi‘ne yaptığı patent başvurusunda ortaya çıktı. Apple’ın satın aldığı bu patent, Samsung’un akıllı telefonlarında da bir süredir kullanılıyordu. (Nexus S ve Galaxy Nexus). Patent sayesinde, Apple bundan böyle kavisli ya da bükülebilir ekranlı cihaz üretimi yapabilecek. Camın şekil alması sırasında kullanılan hizalama araçları, cama herhangi bir işlem yapmadan bükmeyi mümkün hale getiriyor. Apple’ın bu teknolojiyi şu an için hangi cihazlarında kullanacağı ise henüz belli değil. Şirket, bu teknolojiyi iPhone cihazlarında kullanabileceği gibi şirketin bünyesindeki farklı cihazlarında da bu teknolojiyi kullanabilir.

Apple’ın, Patent ve Marka Ofisi’ne yaptığı bir diğer patent başvurusu ise iPod touch ile ilgili. Şirketin geçen yılın ağustos ayında yaptığı patent başvurusu (iPod touch ile ilgili tasarım patenti) Patent ve Marka Ofisi tarafından onaylandı. Beşinci nesil iPod touch’a kıyasla daha kalın ve daha kısa olan dördüncü nesil iPod touch, önünde ve arkasında kameraya sahip ilk model olarak kullanıcıların karşısına yaklaşık iki yıl önce çıkmıştı. Bu arada bu patent başvurusu dokümanının geçen yıl hayata veda eden Apple’ın CEO’su Steve Jobs’un da mucit olarak adının geçtiği son projelerden biri olduğu da belirtiliyor.

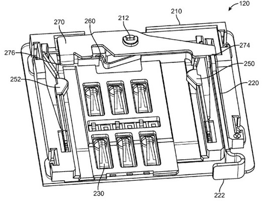
Apple’ın son satın aldığı patent ise SIM kartlarla ilgili. Apple’ın satın aldığı bu patent, SIM kartın yanlış yönde takıldığında zarar görmesini engelliyor ve SIM kartı bir piston yardımıyla çıkarmaya olanak tanıyor. Apple’ın bu yenilikleri ne zaman cihazlarına entegre edeceği ise belirsizliğini koruyor.









