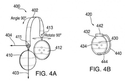
Apple, ilk olarak iPhone 5 ile birlikte satışa sunduğu EarPods kulaklığın haricinde yeni nesil kulaklıkla ilgili yeni bir patent başvurusunda bulundu. Apple’ın yeni geliştirdiği kulaklık iki farklı modda çalışıyor. Birinci mod mevcut kulaklıklardan alışık olduğunuz klasik mod. Diğer mod ise herkesin müzik dinleyebilmesine olanak tanıyan hoparlör modu. Kullanıcılar bu mod sayesinde kulaklıklarını hoparlör olarak da kullanabiliyor. Hoparlör modunda sesin daha kaliteli olabilmesi için entegre amfi kullanılıyor. Apple’ın patent başvurusunda bulunduğu kulaklığın yüksek ve kaliteli bir sese sahip olacağı belirtiliyor. Apple’ın patent başvurusunda kulaklıkların alt kısmını hoparlör moduna uygun pozisyona getirebildiği de en iyi şekilde görülüyor. Amfinin kulaklık modunda kullanımını engellemek için de sensör kullanılıyor. Apple’ın bu patent başvurusunu 2011’in ikinci çeyreğinde yaptığı ve bu fikri bulan kişinin Edward Hyatt olduğu ifade ediliyor.












