Apple’dan çerçevesiz OLED ekranlı iPhone için patent başvurusu
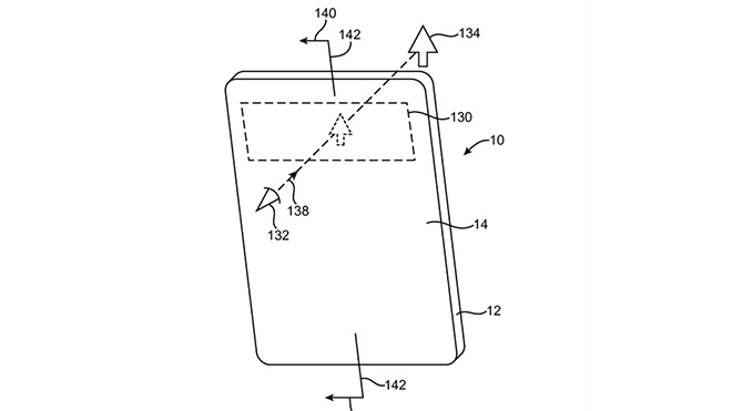
Apple, yeni iPhone modellerinde kullanacağı söylenen OLED ekranlar için yeni bir patent başvurusundu bulundu. ABD Patent ve Marka Ofisi’ne yapılan başvurunun görsellerine bakıldığında karşımıza delikli bir ekran çıkıyor.Haberde Apple’ın çerçevesiz ekranlı iPhone’u deliklerle dolu OLED ekranla gerçeğe dönüştürebileceği belirtiliyor. AppleInsider tarafından tespit edilen patentte esnek bir yüzey üzerine yerleştirilmiş ve aralarına küçük boşluklar bırakılmış bir dizi OLED yer alıyor. Bu boşlukların bilgiyi ekranın altındaki bir ışık sensörüne veya kameraya aktarabileceği söyleniyor. Boşluklar bunların haricinde hoparlörler, bildirim ışıkları ya da ikinci ekranı da etkinleştirebilir.
Apple’ın yeni ekran patentinin bazı sorunlara da çözüm getireceği dile getiriliyor. Kısa bir süre önce satışa sunulan çerçevesiz ekranlı Xiaomi Mi Mix‘te ön kamera telefonun alt kısmında yer alıyor. Bu sebeple selfie çekimi yapmak istediklerinde cihazı ters çevirmeleri gerekiyor. Apple’ın yeni ekran patenti ise bu soruna çözüm getiriyor. Ön kamera, ışık sensörleri, hoparlör ve mikrofon ekranın altına yerleştirilebiliyor. ABD Patent ve Marka Ofisi’ne patent başvurusunda bulunsa da Apple’ın yeni ekran teknolojisini gelecekteki iPhone modellerinde kullanıp kulllanmayacağı henüz bilinmiyor.










![YouTuber, orijinalde çok daha ufak boyutlu bir PlayStation 5 hazırladı [Video]](https://www.log.com.tr/wp-content/uploads/2025/11/108649_51_playstation-5-mod-makes-the-console-more-portable-and-it-runs-cooler-too_full-300x169.jpg)
