Dell’den çift ekranıyla oldukça ilginç duran dizüstü bilgisayar patenti
Büyük bilgisayar üreticilerinden Dell, ilginç bir dizüstü bilgisayar üzerinde çalışma gösteriyor. Firma çift ekranı dizüstü dünyasına gerçek şekilde sokmayı planlıyor.
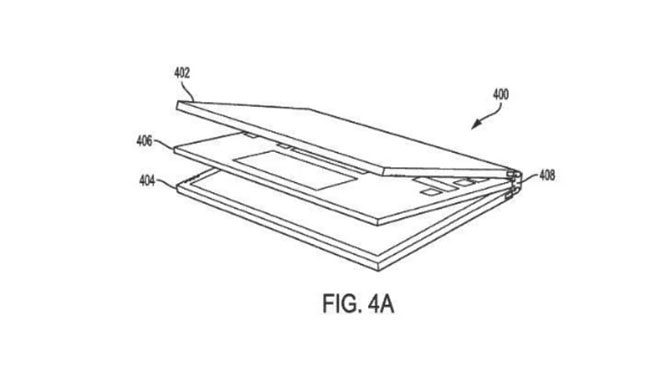
Çift ekrana sahip dizüstü bilgisayar fikri yeni değil. Uzun zamandır bu konuda çalışmalar yapan firmalar bulunuyor. Ancak gerçek anlamda hayatımıza giren ve satışı yapılan güncel bir ürün bulunmuyor. Biliyorsunuz kişiler her zaman taşıyabilecekleri ancak ihtiyaçları olduğunda büyük bir ekran alanı sunacak dizüstü bilgisayarlar istiyor. İşte bunu gerçeğe dönüştürmek isteyen Dell, aldığı yeni patentle gündemde bulunuyor. Şimdilik aşağıdaki çizimlerini gördüğümüz model, birbirinden bağımsız iki farklı ekranı karşımıza getiriyor. Bu bağımsız yapı ve özel menteşe sistemi sayesinde iki ekran üst üste kapanıyor ve böylece kalın da olsa taşınabilir bir dizüstü bilgisayar elde edilebiliyor. Ayrıca bu ekrandan bir tanesi geriye de çevrilebiliyor. Böylelikle bir bilgisayarda farklı kişilerce iki farklı içerik izleyebiliyor.
İLGİNİZİ ÇEKEBİLİR
Dell bu çift ekranlı dizüst bilgisayar modelini gerçeğe dönüştürür mü?
Bunun cevabını kesin olarak vermek elbette mümkün değil. Ancak alınan patent böyle bir modelin resmi olarak gelebileceğini gözler önüne seriyor. Tahmin edebileceğiniz üzere bunun için herhangi bir tarih verilemiyor.
İlginizi Çekebilir
Bu da kendi alanında yeni bir dönem başlatacak Nokia 9 PureView












