Direksiyon ve pedallar opsiyon olma yolunda: Ford’dan çıkarılabilir direksiyon ve pedal patenti
İlk başvuru sürecinin geçtiğimiz yıl yapıldığı ortaya çıkan proje, yakın zamanda karşımıza canlı bir örnekle çıkabilir.
İlginç patent girişimlerinin yanı sıra yenilikçi adımların öncülüğünü yapmak için de çalışmalar yürütmeye devam eden Ford, değişen dünyanın trendlerine ayak uydurmak adına önemli olarak nitelendirebileceğimiz bir projenin patentiyle karşımızda. Son dönemlerde ciddi bir ivmeyle gelişmekte olan otonom sürüş teknolojisinin doğurduğu sürücüsüz otomobilleri doğrudan etkileyecek olan bu proje, gelecekte direksiyon ve pedal setinin opsiyonel olarak sunulacak özellikler arasında olacağına işaret ediyor. Çıkarılabilir direksiyon ve pedal seti için Şubat 2016’da yaptığı başvurusunun detayları yeni ortaya çıkan Ford, kullanıcılarına yakın zamanda bu projenin hayata geçirilebileceğinin de sinyallerini vermeyi ihmal etmiyor.
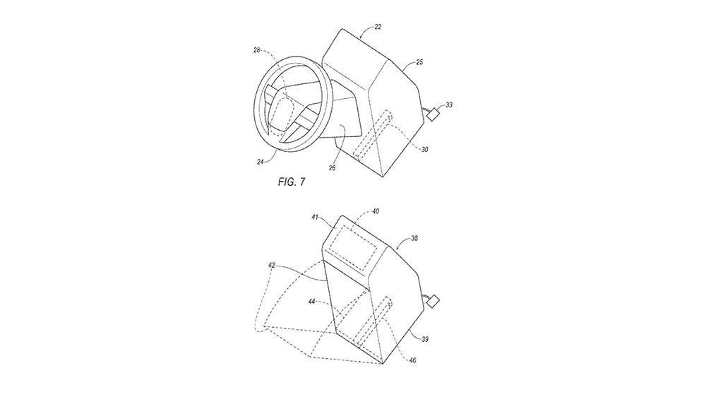
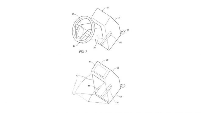
Patent görselleri üzerinden detaylı bir şekilde de gördüğümüz gibi Ford’un bu özelliği sunduğu araçlarda, direksiyon simidi ve pedalları kabin içerisinde yerine oturtmak için kilitleme noktalarına ve ek bölüme yer veriliyor. Direksiyon bölümündeki güvenliğin sağlanılması adına aynı zamanda konsola da ek bir hava yastığı yerleştiren Ford’un bu bölüm için ekstra bir düşüncesi daha var. Proje kapsamında detaylara inildiğinde direksiyon bağlantılarının geleneksel yöntemler kullanılarak mekanik bir bağa ile yapıldığı görülüyor. Ford’un bunun yerine elinde bulunduğu alternatifse Infiniti’den hatırlayacağımız steer-by-wire yani direksiyon milinin kullanılmadığı sistem. Elektronik üniteler üzerinden direksiyon tepkilerinin sağlandığı sistem ilk adımda mantıklı gelse de, sistemin önünde aşması gereken yapaylık sorununu da göz önünde bulundurmak gerekiyor. Projenin pedal ayağındaki sistem için de elektronik bir çözüm üzerinde çalışan Ford’un, bunu ilk kez ne zaman sergileyeceğiyse merak ediliyor.






















