Son dönemde sürekli olarak esnek / katlanabilir ekranlı Galaxy X ile gündeme gelen Samsung, esnek ekranlara da basınç hassasiyeti getirmek istiyor. Şirket ayrıca Gear akıllı saatler için de ilginç planlar içerisinde bulunuyor.
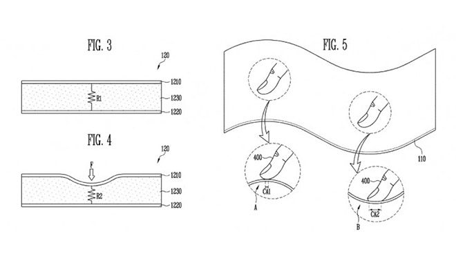
Sadece geçtiğimiz ay birçok yeni ekran patenti alan Samsung, yine yeni patent keşifleriyle karşımızda bulunuyor. Son aylarda özellikle esnek ekranlar üzerine odaklanan şirket, yeni aldığı patent ile esnek ekranlara basınç hassasiyeti getireceğini gösteriyor. Apple’ın “3D Touch” olarak isimlendirdiği bu destek, akıllı cihazlar ile olan etkileşimi daha efektif hale getiriyor. Kontrol sürecine bir katman daha katan bu destek, esnek ekranlar için biraz garip görünmesine rağmen masada bulunuyor. Şirketin Gear akıllı saatler içinse iki yeni patent aldığı görülüyor. İlk patente baktığımızda karşımıza saat kayışına “esnek pil” entegre etme altyapısı çıkıyor. Bu sayede saatlerin pil ömrünü artırmayı hedefleyen firma, burada bir ilke imza atmıyor. Bunu hali hazırda yapan bazı ürünler bulunuyor. Esas ilginç olan ise şirketin aldığı ikinci patent.
Samsung patentler ile geleceğini gözler önüne seriyor
Şirketin yine Gear akıllı saatler odağında aldığı ikinci patentte ise ilk olarak parmak izi sensörü dikkatleri üzerine çekiyor. Direkt olarak ekrandan yapılabileceği görülen parmak izi okuma süreci, ilginç görünüyor. Samsung ayrıca kenarları ekran olan döndürülebilir bir akıllı saat çerçevesi de planlıyor. Patent çizimlerinde döndürmeye bağlı olarak bu yan ekranın da değişeceği görülüyor. Ayrıca patent detaylarında “kamera” ibaresi de dikkat çekiyor. Sanıyoruz yeni modellere kamera koyma hedefi de bulunuyor. Bu açıdan Gear S3’ün yerini alacak Gear S4 için heyacan artıyor.












