Gelecek Apple Watch saatler için ilginç iddia
Akıllı saat Apple Watch, piyasadaki en popüler giyilebilir ürünler arasında yer alıyor. İşte firma bu ürünün geleceği hakkında ilginç planlar yapıyor.
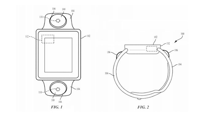
Apple Watch modelleri üzerinde bir kamera yer almıyor. Teknoloji devinin aldığı yeni patent ise bunun üzerinde çalışmalar yapıldığını gösteriyor. Alınan patentte saatin kayışlarına yerleştirilmiş iki adet kamera karşımıza çıkıyor. Şu an SIM kart desteğiyle telefon görüşmesi için kullanılabilen ürün, bu kameralar ile gelecekte FaceTime temelli video görüşmelerini de mümkün kılacak izlenimi yaratıyor. Akıllı saatlerin içerisinde çok faz yer bulunmuyor. Bu açıdan kameraların direkt olarak kayışa entegre edilmesi hem kullanışlı hem de mantıklı duruyor. Bu sayede ayrıca sadece ihtiyacı olanların kullanacağı bir yapı kurulabilir gibi görünüyor. Ancak her zaman söylediğimiz gibi bu patentin hiçbir zaman gerçeğe dönüşmeme ihtimali de masada duruyor.
İLGİNİZİ ÇEKEBİLİR
En son Apple Watch Series 4 karşımıza çıktı
Gücünü iPhone 6s kadar performans sunduğu iddia edilen 64-bit S4 işlemciden alan saat, eskiye nazaran 2 kat daha yüksek performans sunuyor. WatchOS 5 işletim sistemiyle gelen saat, sert düşüşleri algılayabilen yeni ivmeölçer, jiroskop ve yeni ECG uygulamasını kullanarak elektrokardiyogram (EKG) çekebiliyor. FDA tarafından onaylanmış bir elektriksel kalp sensörü taşıyan saat, sağlık için Series 3’e oranla çok daha iyi bir seçenek ortaya koyuyor.
İlgili Video
Series 4’ün resmi tanıtım videosu











