Mazda’dan resmi açıklama geldi; Wankel motor hibrit teknolojisiyle dönüyor!
Mazda’nın Avrupa Satış ve Pazarlama Departman Başkanı Martijn ten Brink yaptığı açıklamalarda kesin dönüşle ilgili önemli bilgiler verdi.
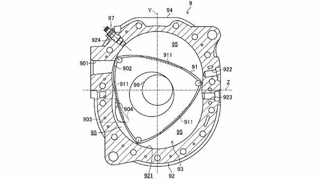
Tüm dünyada otomobil endüstrisinin önü alınamaz bir hızla elektrikli otomobillere yönelmesi, sınıfın kısa süre içerisinde model çeşitliliği konusunda zenginleşmesine vesile oldu. Avrupa, Amerika ve Uzak Doğu piyasasının en önemli üreticilerinin bu atılımlarının aksine, Mazda cephesinin bu furyaya bakış açısının çok daha farklı olduğunu geçtiğimiz yıl içerisinde net bir şekilde öğrenmiştik. Kendi içerisinde geliştirdiği benzinli motor teknolojisi SkyActiv ile karbon salınım değerlerini ciddi oranda düşürmeye odaklanan Mazda mühendisleri, bitti denilen Wankel motordan da vazgeçmeyerek günümüz standartlarına getirilmesi için çalışmalarına devam etti. Yaklaşık iki yıldır gündemi meşgul eden yeni nesil RX versiyonu ve Wankel motorun geleceği için nihayet resmi uygulama adımı geliyor.

İLGİNİZİ ÇEKEBİLİR
“Wankel güven verecek”
Markanın Avrupa Satış ve Pazarlama Departman Başkanı Martijn ten Brink tarafından yapılan resmi açıklamayla ilk detayları ortaya çıkan süreçte, Wankel motorun dönüşü beklenildiği gibi hibrit teknolijisine entegre bir şekilde gerçekleştirilecek. Mazda’nın önümüzdeki yıl içerisinde tamamen elektrikli bir modelin tanıtımı için hazırlandığını belirten Brink, Wankel’in bu yeni modelde menzil artırıcı olarak ek bir opsiyon dahilinde satın alınabileceğini ifade etti. Günümüz standartlarında olduğu gibi Mazda’nın elektrikli modelinin de günlük kullanım konusunda sorun yaratmayacak bir menzil değeri sunacağının altını çizen Brink; “Wankel motorun bu modele eklenmesinin temel sebebi, kullanıcıların uzun yol odaklı tedirginliklerini ortadan kaldırmak.” dedi.
Elektrikli araçlardaki sessiz yapının bozulmamasından ötürü yeni nesil Wankel’in ses ve titreşim konusunda çok ciddi iyileştirme prensipleri üzerine kurulduğunu belirten Mazda, kullanıcıların motorun devreye girdiği anları hissetmeyeceğini iddia ediyor. İçten yanmalı motorların hibrit modeller de dahil olmak üzere ortalama 20 yıl daha aktif şekilde kullanılacağına ve geliştirilmesi gerektiğine inanan Mazda, SkyActive X ile yeni teknolojinin gösterimini gerçekleştirecek. Tüm bu geliştirmenin ürününü önümüzdeki iki yıl içerisinde sokaklarda göreceğiz.












