Mobil sektörünün geleceğinde katlanabilir akıllı telefon modelleri yer alıyor. Bu konuda aktif olarak çalışan isimlerden birisi de teknoloji devi Apple.
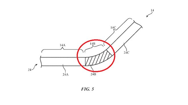
Başta Samsung olmak üzere LG, Oppo, Huawei, Xiaomi ve Vivo gibi isimler kendi katlanabilir akıllı telefon modelleri üzerine çalışıyor. Bu döneme 2019 içerisinde girmeye hazırlanan firmalar, sürekli olarak yeni patentler alıyor. İşte bu konuda Apple da boş durmuyor. Şirketin bugün ortaya çıkan yeni alınmış patenti, “esnek ekranlı elektronik cihaz” ibaresiyle karşımıza çıkıyor. Katlanabilir iPhone modellerinde kullanılacak ekrana işaret ettiği belirtilen bu patent, teknoloji devinin de ilgisini gözler önüne seriyor. Daha önce duyduğumuz kadarıyla bu alana 2020’den önce girme planı bulunmayan firma, sürece geç katılarak en iyi deneyimi sunmayı hedefliyor. Alınan patent ile ekranın merkezindeki katlama noktasına odaklanan Apple, bu katlama sırasında oluşan sorunlara karşı çözümler geliştiriyor.
İLGİNİZİ ÇEKEBİLİR

Sürece Apple’dan önce katlanabilir akıllı telefon modeli Galaxy X ile Samsung katılacak
Galaxy Wing olarak da isimlendirilebileceği söylenen katlanabilir Samsung akıllı telefon modeli, oldukça merak ediliyor. Geçtiğimiz günlerde bünyesinde kullanılabilecek esnek pili dahi ortaya çıkan model, alanın öncüsü olacak gibi duruyor. Bu arada dev üretici modelin ekranı üzerinde de çalışıyor. Geçtiğimiz hafta duyduğumuz kadarıyla Samsung, modelde kullanılacak “katlanabilir / esnek” OLED ekranının üretimini test etmeye başlamış durumda. Bir sorun çıkmazsa yıl sonunda seri üretime gireceği belirtilen ekran, telefonun en önemli bir diğer donanımını oluşturuyor. İçe doğru katlanır bir yapıda olacağı söylenen bu ekranın, 7 ya da 8 inç boyutunda olması bekleniyor. Ayrıca cihazda 3,5 inç kadar bir ikinci ekranın da olma ihtimali de bulunuyor. İlk katlanabilir Samsung akıllı telefonun modelinin tam 1.850 dolardan satılacağı konuşuluyor. 300 bin ya da 500 bin ünite kadar üretileceği söylenen model, çok can yakacak izlenimi yaratıyor.
İlgili Video
Şirket geleceği böyle görüyor








