Güney Kore merkezli teknoloji devi Samsung, akıllı telefonlarında birçok farklı biyometrik güvenlik sistemi kullanıyor. Şirketin patentini aldığı yeni bir sistem ise bu sefer kan akşına odaklanıyor.
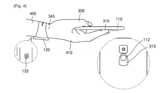
Şu sıralar daha çok Galaxy S9 ve Galaxy S9+ ile gündemde bulunan Samsung, ilginç bir patent aldı. Bildiğiniz gibi şirket telefonlarında parmak izi okuma ve iris tarama gibi sistemler kullanıyor. Buna eklenecek son biyometrik unsur ise kan akışı olarak görünüyor. Amerika Birleşik Devletleri’nde alınan patent, hem akıllı telefonlar hem de akıllı saatlere uygulanabilir görünüyor. Söylendiği kadarıyla bu sistem, kullanıcıları parmaklarından veya bileklerinden ölçülen kan akışına dayalı olarak tanımlayabiliyor. Telefon tarafında kişilerin arka kamera yanındaki sensöre parmağını koyması gerekirken, akıllı saat tarafında süreç nabız ölçüm gibi bilekten otomatik gerçekleşiyor.
Samsung’un yeni sistemi akıllı saatler için daha kullanışlı
Kan akışının her kullanıcıya özel olduğu söylenirken, mevcut sistemlerden çok daha güvenli görünüyor. Çünkü yüzümüz, göz bebeğimiz ya da parmak izimiz bir şekilde açıkta olduğu için kopyalanabiliyor. Ancak kimsenin kan akışınızı kopyalama ihtimali bulunmuyor. Bu arada Samsung ilginç bir sistem üzerinde daha çalışıyor. Daha önce duyduğumuz bu sistem ile şirket parolalarınızı avucunuzun içerisine getirmek istiyor. Bunun için detaylı bir patent alan şirket, parolaları avuç içerisindeki çizgilerle eşleştirmeyi hedefliyor. Burada amaç tüm parolalarınızı saklamaktan çok hatırlamak olarak görünüyor.












