LG’den telefonların yerine göz diken “yuvarlanabilir ekranlı” stylus kalem konsepti!
Güney Kore merkezli teknoloji devi LG, kısa süre önce çok ilginç bir patent aldı. Şirketin gelecek hayali gerçekten çok ama çok ilginç görünüyor.
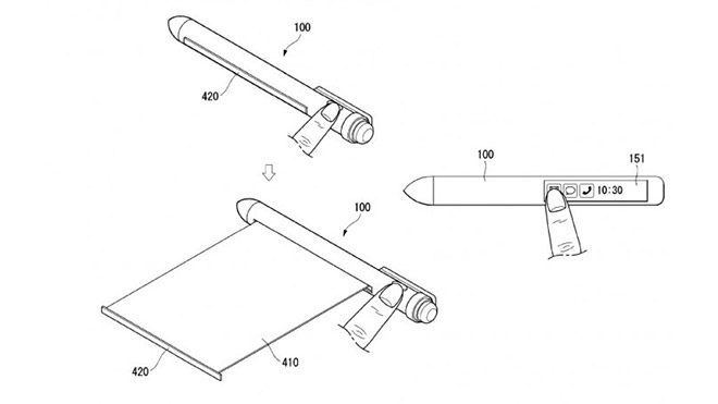
Oppo, Samsung ve Huawei gibi isimler ile beraber katlanabilir akıllı telefonlar geliştiren LG, farklı projeler üzerine de kafa yoruyor. İşte bunların belki de en ilginci karşımıza çıkmış durumda. Yeni yayımlanan bir patent, bünyesinde esnek bir ekran yer alan stylus kalem konseptini gündeme getiriyor. Sizin de görebileceğiniz üzere kalemin bünyesinden hatırı sayılır bir ekran çıkıyor. Şirket uzun süredir “yuvarlanabilir” OLED televizyonlarını fuarlarda sergiliyor. İşte bu konsepti stylus kaleme entegre eden LG, biraz kalın da olsa dünyanın en işlevsel stylus kalemini tasarlamış görünüyor. Kalem üzerine eklenen bir tuş ile dışa çıktığı söylenen dokunmatik ekran, yüklenen uygulamalara hızlı erişim sunuyor. Patent çizimlerinde kalemin mikrofon ve hoparlör birimlerine de sahip olduğu görünüyor. Bu sayede bağlı telefon üzerinden görüşme imkanı verecek ürün, herhangi bir yüzeye yazılanları dijitale geçirebilme yeteneğine de sahip. Takılacak SIM kartı ile bağımsız hale getirilme ihtimali de bulunan konsept, gerçekten ilginç duruyor.
İLGİNİZİ ÇEKEBİLİR
LG’nin katlanabilir akıllı telefonu nasıl gözükecek?
Geçtiğimiz gün şirketin bu alanda aldığı bir patent de ortaya çıkmıştı. Burada firma Samsung Galaxy X‘e benzer bir tasarım üzerinde çalışıyor. Yani ortadan ikiye içe doğru katlanan bir model hayal eden şirket, bunun en kullanışlı yapı olduğunu düşünüyor. Bu amacı için özel bir menteşe geliştirdiği söylenen firma, ilk katlanabilir akıllı telefon modeline “stereo ön hoparlör” koymayı da planlıyor. Patentler içerisinde modelin esnek devre kartlarını da gösteren firma, sürece en çok kafa yoranlar arasında yer alıyor.
İlgili Video
Xiaomi’nin yeni akıllı bilekliği














