Apple Studio Display ve Pro Display XDR için çiftli stand ortaya çıktı
27 inç panele sahip monitör modeli Apple Studio Display ve üst seviye Pro Display XDR için çiftli stand ünitesi yolda.
Pro Display XDR monitörün altına konumlandırılan Apple Studio Display monitör modeli kısa süre önce Türkiye’de 27.999 TL gibi yüksek bir fiyattan elde edilebilir olmuştu. Modelin parlama karşıtı nano-texture cam versiyonu içinse 32.499 TL verilmesi gerekiyor. Apple Studio Display, Pro Display XDR’dan farklı olarak yerleşik bir bacak geliyor. Ancak bu bacak yükseklik ayarına sahip değil. Eğer yükseklik ayarı sizin için önemliyse normal sürümde başlangıç fiyatı 33.999 TL‘ye yükseliyor. Nano-texture sürümü ise tam 38.499 TL oluyor. Model istenirse VESA montaj aparatıyla da satın alınabiliyor. VESA ile fiyat normal sürüm için 27.999 TL, nano-texture için 32.499 TL seviyesinde.
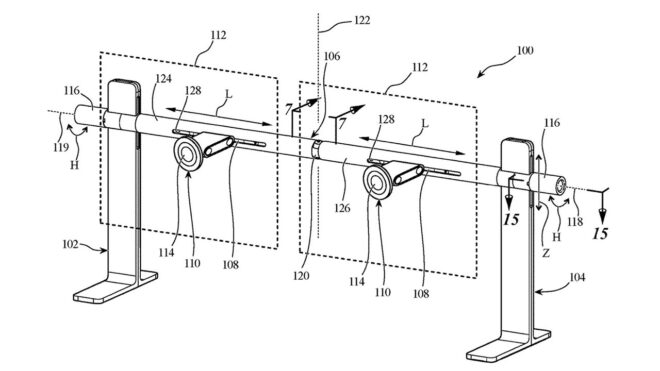
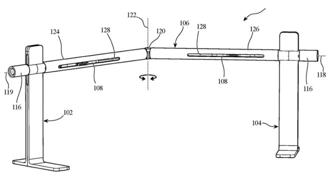
Apple Pro Display XDR için satılan bacağın ise şu an tam 19.079 TL fiyatı bulunuyor. Bu model bile inanılmaz yüksek fiyatı ile ses getirirken, Apple şimdi bir çiftli stand ünitesi ile karşımızda yer alıyor. Yan yana iki adet monitör takılması için hazırlanan stand, çok detaylı patent çizimlerine bakılırsa çok uzakta yer almıyor. Tam ortadan hareketli tasarlanan ve bu sayede iki monitörü karşısındaki kişiye odaklayabilen “Dual Display Stand” isimli stand ünitesi, yükseklik ayarı sunuyor ve pürüzsüz hareket için gelişmiş bir altyapı üzerine kuruluyor.
İLGİNİZİ ÇEKEBİLİR
Bu ürünün Türkiye fiyatı eğer yakın bir dönemde çıkarsa, şirketin güncel fiyat politikası üzerinden tam 50 bin TL civarında olabilir. Tamamen alüminyumdan üretilmesi olası olan ürünün yurt dışı fiyatı ise 2 bin dolara yaklaşabilir.













