Teknoloji devi Apple, çok uzun süredir kendi artırılmış gerçeklik gözlüğü ile gündeme geliyor. Peki bu gizemli ürün tam olarak ne zaman tanıtılacak?
Apple CEO’su Tim Cook, sık sık artırılmış gerçeklik tarafına çok büyük önem verdiklerini belirtiyor. Bu noktada açıkça söylenmese de olası adıyla Apple Glass‘ı geliştiren firma, çıkışı 2020 yılına bırakmış gibi görünüyor. Bu bilgi bir trilyon dolarlık şirkete yakın sağlam kaynakları bulunan analist Ming Chi-Kuo‘dan geliyor. Bu tarz konularda söyledikleri genelde doğru çıkan Kuo, merak edilen ürün için daha çok bekleneceğini gösteriyor. Ancak bu oldukça mantıklı duruyor. Günümüzde henüz AR / VR altyapıları tam istenilen / hayal edilen deneyimi sunamıyor. İşte bu yüzden acele etmeyen Apple, altyapı tam olarak oturmadan sürece dahil olmak istemiyor. ARKit ile iPhone / iPad tarafında AR altyapısına giriş yapan şirket, bunu gerçek bir gözlükle de tüketicilere sunmak istiyor. Fakat bunun çok etkileyici yapılması için ciddi zaman gerekiyor.
İLGİNİZİ ÇEKEBİLİR

Apple Glass, rOS işletim sistemi üzerine kurulacak
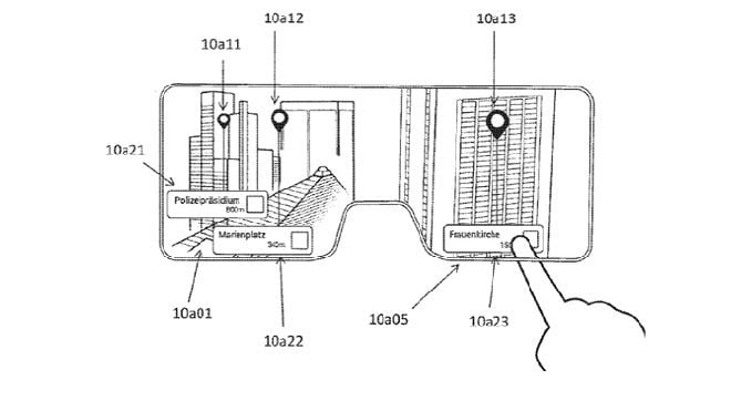
Bloomberg teknoloji editörlerinden Mark Gurman, geçtiğimiz aylarda şirketin artırılmış gerçeklik gözlüğünden bazı bilgiler vermişti. 2019 yılında temel olarak bitirilmesi beklenen gözlük, söylendiği kadarıyla rOS isimli bir işletim sistemine sahip olacak. Apple’ın iOS üzerine kurduğu bu işletim sistemi, gözlüğün kendi uygulamalarını çalıştırmasına olanak verecek. Bu açıdan Apple Watch’a benzer şekilde iPhone temelli çalışacak bu uygulamalar, birçok detayı kullanıcıların gözleri önüne getirecek. Gurman ayrıca gözlüğün kontrolü konusunda da denemeler yapıldığı söylüyor. Gözlüğün kafa hareketleriyle, dokunmatik ekranla ya da Siri üzerinden sesli kontrol edilebileceği ilk detaylar arasında yer alıyor. Kendi uygulama marketine sahip olacağı da belirtilen gözlük, şu an aktif olarak masada bulunuyor. Yazılım mühendislerinin test sürecinde HTC Vive VR başlığı kullandıkları da sızan detaylar arasında.
İlgili Video
En yeni iPhone X reklamı









