Yeni modelleri P20 ve P20 Pro ile büyük bir başarı yaşayan Huawei, bunu sektörün geleceğinde de devam ettirmek istiyor. Sektörün geleceği katlanabilir modellerde görünürken, bu konuda şirketi önemli bir adımı bulunuyor.
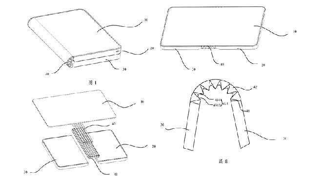
Şu an başta Samsung olmak üzere Huawei, Oppo, Lenovo, ZTE ve LG gibi firmalar katlanabilir akıllı telefonlar üzerinde çalışma gösteriyor. Daha önce duyduğumuz kadarıyla bu alanda ilk çıkışı Huawei yapmak istiyor. Dünyanın ilk katlanabilir akıllı telefonunu “kasım” ayında lanse etmek isteyen şirket, bu sayede özellikle Samsung ve olası adıyla Galaxy X‘i avlamayı hedefliyor. Samsung’tan farklı olarak dışa değil içe doğru katlanan bir model geliştirdiği söylenen Huawei‘nin, bu modelin temelini oluşturan ekran konusunda ise Çin merkezli üretici BOE ile ortaklık kurduğu söyleniyor. Kasım ayındaki çıkışı gerçeğe dönüştürmek için kurulan bu ortaklık, gerçekten büyük önem arz ediyor. Bahsi geçen modelin tam 8 inç boyutunda katlanabilir ekran üzerine kurulacağı söylenirken, BOE’nin Samsung‘la da çalıştığı gelen bilgiler arasından. Aynı zamanda katlanabilir modeller için Xiaomi ve Oppo‘ya da prototipler üreten firma, bu konuda ilk çıkışı mümkün kılan isim olacak gibi duruyor. Daha önce sadece “ilk takısını” almak için prototip olarak da tanıtılacağı söylenen telefon, görünüşe bakılırsa gerçek olarak geliyor.
İLGİNİZİ ÇEKEBİLİR

Katlanabilir akıllı telefon modelleri çok merak ediliyor
Digitimes‘ın geçtiğimiz haftalarda yayımladığı habere göre gerçekten satın alınabilecek katlanabilir akıllı telefon modelleri 2018 sonunda satışa çıkıyor. Özellikle bu cihazların arge çalışmalarında büyük artışlar görüldüğünü belirtilirken, telefon sektörün çentiği tartışırken yeni bir dönem geliyor. Bu döneme geçişin ise biraz zor olacağı söyleniyor. Özellikle modellerin fiyat olarak çok pahalı olacağı söyleniyor.
İlgili Video
İşte bu geleceğe hazırlanıyoruz










