Porsche’den uçan araç konusunda önemli hamle
Uçan araç konusunda geçtiğimiz yıl Boeing ile ortaklık kuran Porsche, bu konuda gerçekten ciddi görünüyor. İşte detaylar;
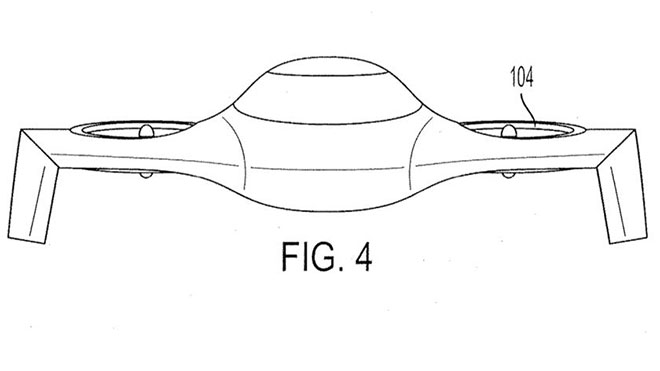
Biliyorsunuz hali hazırda aktif olarak geliştirilen birçok uçan araç ve uçan taksi bulunuyor. Bu alanda heyecan veren bir ortaklık kuran Porsche ve Boeing, gelecek için çalışmaya başlamıştı. İşte bu araç sözde kalmayacak gibi görünüyor. Çünkü Porsche‘nin kısa süre önce aşağıda görebileceğiniz uçan araç patentleri ortaya çıktı. Taycan EV Forum’da bulunan patentler, firmanın ilk modeli için düşündüğü tasarımın temel çizimlerini karşımıza getiriyor. Burada bünyesinde dört adet pervaneli motorun yer aldığı, kanat uçları katlanabilen ve dikey olarak iniş kalkış yapabilecek iki kişilik bir araç kendisi gösteriyor. Kurdukları ortaklık ile geleceğin ne getireceği yönünde araştırma yapmak ve olası potansiyel kullanımları değerlendirmek isteyen ikiliye, duyduğumuz kadarıyla Aurora Flight Sciences da destek veriyor. İlk aracın yüzde 100 elektrikli olacağı bilinen nadir teknik detaylar arasında yer alıyor.
İLGİNİZİ ÇEKEBİLİR
Porsche ve Boeing ortaklığı kısa vadeli değil
Uçan otomobillerin / araçların / taksileri 2025 sonrasında ciddi şekilde ön plana çıkmaya başlayacağını belirten ikili, bu yaklaşan geleceğe hazır olmak istediklerini söylüyor. Ürettiği ilk uçan aracını satmaktan uçan taksiler gibi ticari kullanıma yöneleyecek denilen Alman otomobil devi, bakalım ilk gerçek çözümü tam olarak ne zaman görücüye çıkartacak?












![Xbox Game Pass kataloğuna eklenecek yeni oyunlar açıklandı [3 Şubat]](https://www.log.com.tr/wp-content/uploads/2026/02/2026-02-03_17-03-30_P5gyu-300x169.jpg)


