Samsung’dan çok ilginç çıkarılabilir kameralı katlanabilir telefon planı
Yurt dışında 1.980 dolar fiyat etiketi bulunan katlanabilir telefon Samsung Galaxy Fold, merakla bekleniyor. Ancak firma başka modeller de geliştiriyor.
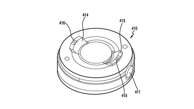
Katlanabilir telefon dünyasında şu an Samsung Galaxy Fold ve Huawei Mate X yer alıyor. İşte bu isimlerden Samsung, gelecek için de planlar yapıyor. Bu noktada ortaya çıkan bir patent, gerçekten çok ilginç görünüyor. Çünkü Samsung gerçek anlamda çıkarılabilir kameraya sahip bir katlanabilir model üzerinde çalışma gösteriyor. İki noktadan katlanmaya imkan tanıyan iki farklı menteşesi bulunan telefonda, büyük bir çıkarılabilir kamera yer alıyor. Direkt olarak Sony’nin QX serisi modellerini akıllara getiren bu yapı, hiç ama hiç pratik görünmüyor. Elbette aldığı her patenti gerçeğe dönüştürmeyen teknoloji devi, yine de ilginç planlar içerisinde bulunuyor.
İLGİNİZİ ÇEKEBİLİR
Katlanabilir telefon Samsung Galaxy Fold şu detaylarla karşımıza çıkmıştı
Modelde 7.3 inç QXGA+ Dinamik AMOLED (4.2:3) (İç ekran) ve 4.6 inç HD+ Super AMOLED (21:9) (Dış / kapak ekran) olmak üzere iki adet ekran yer alıyor. Gücünü Snapdragon 855 işlemciden alan telefon, tam 12 GB RAM ile geliyor. Dahili hafızası 512 GB olan katlanabilir akıllı telefon Samsung Galaxy Fold, ekrana entegre parmak izi teknolojisini benimsemiyor. Bunun yerine parmak izi sensörü güç tuşunda olan telefon, arkasında 16 MP F2.2 ultra geniş açı + 12 MP (2PD) F1.5/F2.4 OIS geniş açı + 12 MP F2.4 OIS telefoto olmak üzere üç adet kamera yer alıyor. Modelin içerisinde ise 10 MP (2PD) F2.2 geniş açı + 8 MP F1.9 derinlik kamerası bulunuyor. Modelin kapağında ise 10 MP (2PD) F2.2 kamerası bizleri karşılıyor.4.380 mAh pil üzerine kurulan telefonda, normal ve ters kablosuz şarj teknolojisi de aktif olarak yer alıyor.















