Samsung’dan drone’a bakış açısını değiştirecek çalışma
Samsung‘u drone konularında hiç duymuyoruz. Hemen her alanda olmasına rağmen bu tarafta aktif olmayan şirket, görünüşe bakılırsa kapalı kapılar ardında ilginç bir sistem geliştiriyor. Ortaya çıkan patent ise buna erken bir bakış attırıyor.
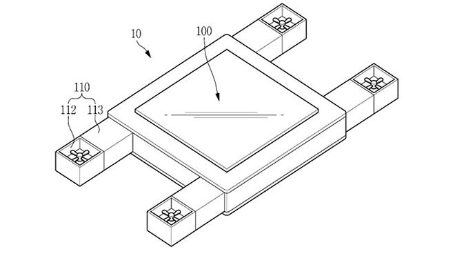
Şirketin aldığı patent, daha önce gördüğümüz hiçbir gerçek ya da konsept drone modeline benzemiyor. Baktığımız çizimlerde karşımıza dört adet pervane ile havada kalabilen bir ekran bizleri karşılıyor. Kişilerin göz bebeklerini ve yüzlerini algılayabileceği söylenen drone, buna ek olarak el hareketleri ve kişilerin konumları da belirleyebiliyor. Bünyesinde kamera ve özel gözlem sistemleri de taşıyacak drone, kağıt üzerinde göz, parmaklar ya da eller ile kontrol edilebiliyor. Özellikle göz ve parmak hareketleri çok ilginç görünürken, sistemin kafa hareketlerini dahi kontrol sürecine dahil edebileceğinden bahsediliyor. Kişileri otomatik olarak takip ettiği de söylenen bu ilginç hava aracı, farklı formlarda özelleştirebilecek deniyor.
İLGİNİZİ ÇEKEBİLİR
Samsung ve drone birbirine çok yabancı
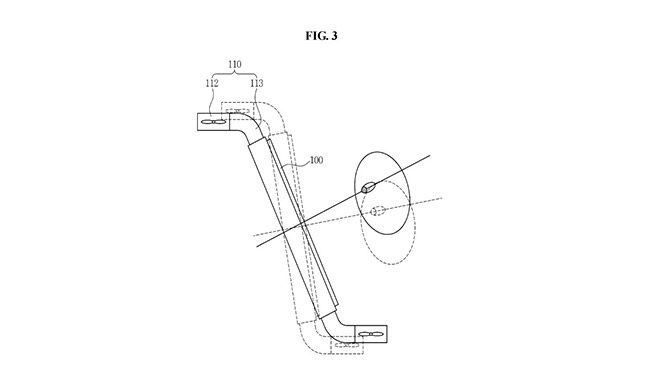
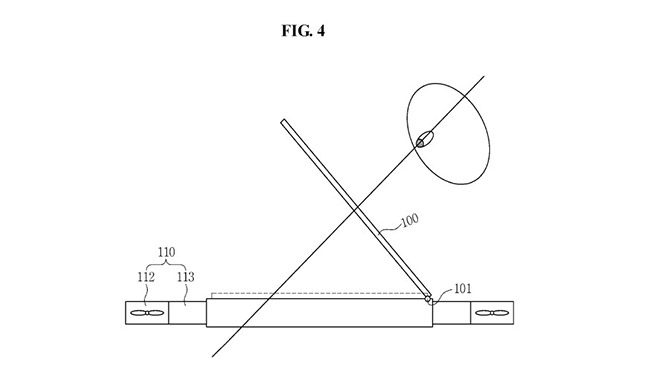
GPS ile WiFi tabanlı konum belirleme sistemleri unutulmayan drone, patent detaylarında birçok sensör barındırıyor. Ses tanımlama kabiliyetine dahi sahip olduğu belirtilen ürün, ekranını da hareket ettirebiliyor. Bunun uçuş sırasında olacağı belirtilirken, drone’un çevresindeki objeleri algılayarak kazalardan kaçabileceği öne çıkıyor. Tüm bunların alınmış olması elbette gerçek bir ürünün kesin olarak geldiğini göstermiyor. Ancak Samsung olaya birçok farklı açıdan yaklaşmış ve kompleks bir yapı kurmuş görünüyor. Sizce bu drone gerçeğe dönüşür mü?













